首页 > 霸拓资讯
王文琦:卧式钢琴整理项目的必要性-震奏杆弹簧 230410
2023-04-07
钢琴调律技术
卧式钢琴整理项目的必要性-震奏杆弹簧
文/王文琦(长春大学)
资料提供/王文琦
百花齐放、百家争鸣是学术的基本态度。作为学术平台,霸拓推送(并不代表认同)能引发思索的文章。

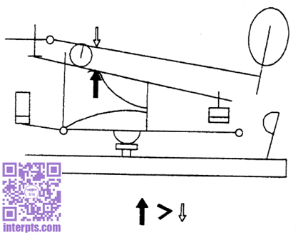
震奏杆弹簧上部起支撑奏震杆的上升作用,下部起牵制顶杆返回复位的作用。
弹力过小时,由于震奏杆不能上升,震奏机械不发挥作用,顶杆返回艰难。弹性非常差时,顶杆甚至不能返回。

弹力过大时,槌击弦后鼓轮不能向下贴服于震奏杆,槌尾未到达托木擒纵点就已弹回。
即使弹力稍大,解除擒纵时,也会加快震奏杆(并带着弦槌)的上升速度,强烈地撞击回跌调节螺钉,传递出不舒适的触感。




